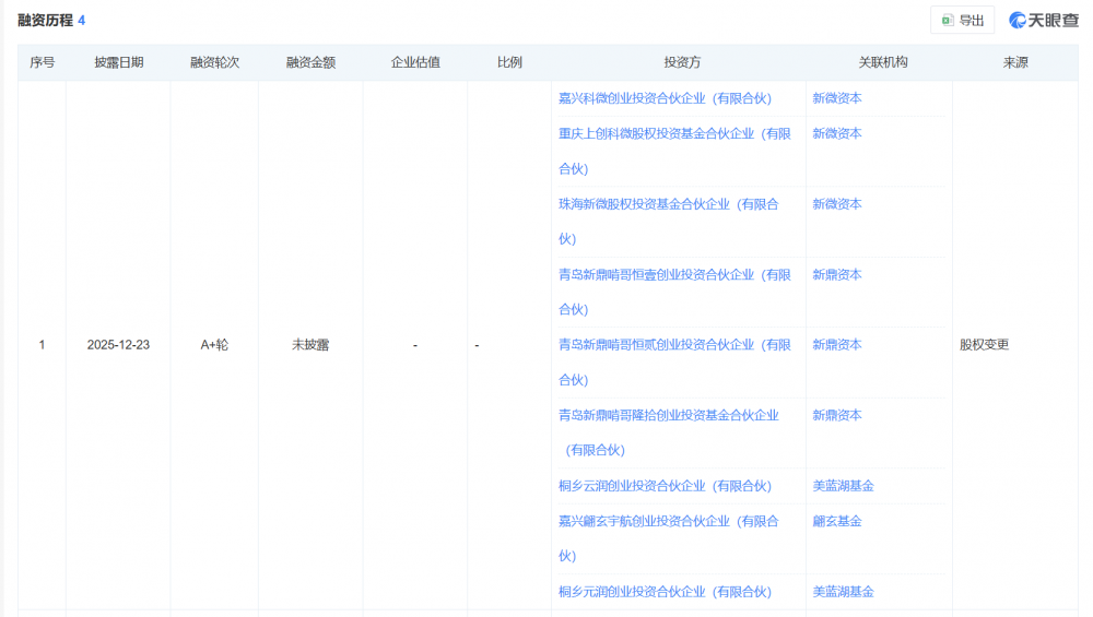
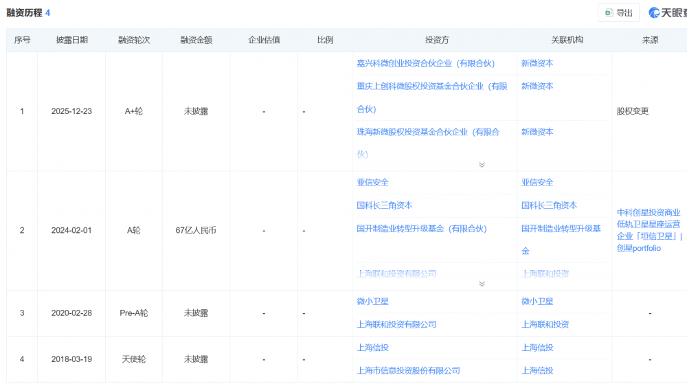
C114讯 12月31日消息(颜翊)今日,天眼查消息显示,素有“中国星链”之称的上海垣信已完成A+轮融资,投资方包括嘉兴科微创业投资合伙企业(有限合伙),重庆上创科微股权投资基金合伙企业(有限合伙),珠海新微股权投资基金合伙企业(有限合伙)等,具体融资金额未披露。

今年10月20日,有媒体报道称,上海垣信本轮融资规模锁定50亿至60亿元,投前估值已达400多亿元。这是继2024年2月完成67亿元A轮融资,创下国内商业卫星领域单轮融资规模纪录后,上海垣信再启大规模资本补血。
据天眼查数据,上海垣信自成立以来已完成四轮关键融资。2018年3月天使轮获上海信投注资,2020年2月Pre-A轮引入上海联和投资与上海微小卫星工程中心,前者为上海国资核心投资平台,后者则是我国微小卫星及相关技术领域的总体单位之一。

2024年2月的A轮融资的14家投资方中,国开制造业转型升级基金(规模501亿元)作为领投方,叠加13家产业与财务投资者,直接推动企业进入卫星组网发射的关键阶段。
手握“千帆星座”的上海垣信卫星是中国巨型星座核心玩家。作为中国首个进入正式组网阶段的巨型低轨商业卫星星座,“千帆星座”于2023年启动建设,星座包括三代卫星系统,采用全频段、多层多轨道星座设计。千帆星座计划分三期建设:一期部署648颗卫星,提供区域网络覆盖;二期部署1296颗卫星,实现全球网络覆盖;三期规划超过1.5万颗卫星,提供多元融合服务。 








































