C114讯 10月30日消息(南山)昨日晚间,中国联通的一纸公告,掀开了央企战略性新兴产业发展基金的神秘面纱。
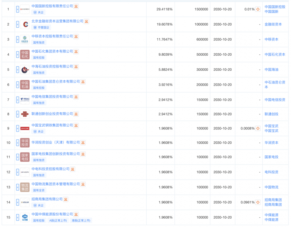
据中国联通发布的公告,其下属公司联通创新创业投资有限公司将以自有资金出资人民币15亿元认购央企战新基金份额,占比2.94%。
除联通创投之外,基金的其他股东为中国国新控股有限责任公司、中移资本控股有限责任公司、中国石化集团资本有限公司、中海石油投资控股有限公司、中国石油集团昆仑资本有限公司、中国电信集团投资有限公司、华润投资创业(天津)有限公司、招商局集团有限公司、中国宝武钢铁集团有限公司、国家电投集团创新投资有限公司、中国物流集团资本管理有限公司、中国中煤能源股份有限公司、中电科投资控股有限公司和北京金融街资本运营集团有限公司。
天眼查数据显示,电信投资亦占比2.94%,对应出资15亿元。中移资本占比11.7647%,对应出资60亿元,为第三大股东。前两大出资央企为中国国新控股有限责任公司、北京金融街资本运营集团有限公司。

据了解,央企战新基金主要投资方向为战略性新兴产业领域,并支持产业发展。据央视新闻报道,10月29日,由国务院国资委发起,委托中国国新设立和管理的中央企业战略性新兴产业发展专项基金在北京启动,目前该基金已具备投资条件,将助力战略性新兴产业加速发展。

该基金作为国务院国资委推动中央企业战略性新兴产业加快发展的专项基金,将支持国资央企补齐产业短板弱项、布局前沿创新,进一步增强核心功能、提升核心竞争力。将重点支持人工智能、航空航天、高端装备、量子科技等战略性新兴产业以及未来能源、未来信息、未来制造等未来产业重点领域。
该基金投资期为5年,管理和退出期为8年,其中投资期最多可延长2年,合计15年。
中国联通在公告中表示,本次交易旨在落实国家战略部署,推动央企战新产业和未来产业发展,突出长期资本、耐心资本、战略资本的核心价值。通过基金投资布局与中央企业发展相关的九大战新产业领域,探索未来产业新赛道,围绕产业链部署创新链、围绕创新链布局产业链,促进产业链创新链深度融合。该基金投资领域与公司主营业务协同性强,可通过基金接入更广泛的产融平台,有助于中国联通拓宽产业合作生态圈。本次交易的资金来源为联通创投自有资金,不会影响日常资金正常周转需要,不会影响主营业务的正常发展,不存在损害公司及全体股东利益的情形。
按照国务院国资委部署,央企战新基金将以服务国家战略需求为核心,围绕产业链强链补链,助推央企加快战新产业规模和质量同步提升,加快央企战新产业布局发展,促进国家重点领域高水平自立自强。









































